9888拉斯维加斯入口企业logo
直接搜索 "CO2激光管"
EN 英文版本网站
9888拉斯维加斯入口激光品牌logo
 

安装


激光技术员必学:激光切割机的光路调整手册

阅读量: 24701次 2019-02-28

引言:激光切割机自身采用的是飞行式光路系统,在长期的工作时,光路会发生稍微的偏差,会对切割效果有很大的影响。所以,定时的检查光路以及调整是非常必要的工作。调整激光切割机光路之前,我们要对其中激光管、反射镜架以及聚焦镜等要有足够的认识,下面我们先来给大家介绍一下。


如何调整激光切割机光路

很多新手客户在购买激光切割机后,对于调整光路这一操作来说,还是比较陌生,不过激光切割机厂家都会对客户进行培训服务。但是,也有不少客户会对操作方法忘记的很快,所以,在这里,9888拉斯维加斯入口激光给大家整理了一份关于激光切割机光路调整的教程供大家分享。


激光切割机在什么情况下需要调整光路?

激光切割机自身采用的是飞行式光路系统,在长期的工作时,光路会发生稍微的偏差,会对切割效果有很大的影响。所以,定时的检查光路以及调整是非常必要的工作。调整激光切割机光路之前,我们要对其中激光管、反射镜架以及聚焦镜要有足够的认识,下面我们先来给大家介绍一下。


??

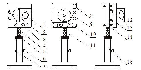
1. 反射镜架A


激光切割机飞行光路中的反射架部分

激光切割机飞行光路中的反射架部分


1.光靶放置架 2.反射镜 3.拉簧锁紧螺丝 4.调节螺杆 5.调节螺母 6.锁紧螺丝a7.锁紧螺丝b 8.调节螺丝M1 9.反射镜锁紧片 10.调节螺丝M 11.调节螺丝M2.12.拉簧 13.反射镜安装板 14.支撑板 15.底座


2. 反射镜架B (其安装底板与A镜架不同外其余相同)


激光反射镜架结构图

激光反射镜架结构图


1.安装底板(可左右移动).2.锁紧螺丝



3. 反射镜架C


反射镜架结构图

反射镜架结构图


1.反射镜调整板 2.反射镜 3.锁紧螺丝 4.调节螺丝M1 5. 反射镜调整板6.反射镜压紧板 7.调节螺丝M 8.锁紧螺丝 9.调节螺丝M2



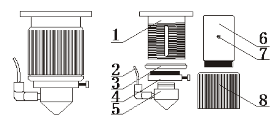
4. 聚焦镜


聚焦镜结构示意图

聚焦镜结构示意图


1.聚焦镜内筒 2.进气管 3.限位螺圈 4.气嘴过渡套5.气嘴 6.镜筒 7.限位螺丝 8.调节套筒.




了解了各个部件的名称,下面我们就来教大家调整激光切割机光路的方法:


(一) ?四道光路调整


(1)第一道光的调整,用美纹纸贴在反射镜A的调光靶孔上,手动点动出光(注此时功率不要用太大),微调反射镜A的底座及激光管支架,使光打在靶孔中心,注意光不能被挡。


(2)第二道光的调整,将反射镜B移至远程,用张硬纸板由近至远出光,把光导进十字光靶里,因为远程光在靶里边则近端一定在靶里边,接着把近端和远程光斑调为一致,即近端怎偏,远程也跟着怎么偏,使十字架在近端和远程光斑中都处在同一个位置即近是(远是)说明光路与Y轴导轨平行。


(3)第三道光的调整(注:十字架将光斑左右对分),将反射镜C移至远程,把光导进光靶,在进端与远程各打靶一次,对比十字架的位置调成跟近端光斑中十字架的位置一样,这时表明光束与X轴平行。此时光路偏里或外,则需将镜架B上的M1、M2、M3同松或紧,直至左右对分。


(4)第四道光的调整,用一块美纹纸粘在出光口上,使出光孔在胶纸上留下一个圆形痕迹,点动出光,取下胶纸观察小孔位置,视情况调节镜架C上的M1、M2、M3直至光斑圆且正为止。


(二) 焦距的测量方法:


用我们激光切割机厂家配的焦距尺,将喷嘴上下升降放在焦距尺的数字5上面,此时的光是最亮最强的,然后紧锁螺丝。


(三) 以四方块所示(如图)

激光管光路所偏向位置

激光管光路所偏向位置

(1)切割面往左偏,激光头太低或垂直光反射镜太高,如图标向D面斜,说明光偏低;

激光管光路偏了有两种解决方法:


1、放低垂直光反射镜C,将M1、M2、M3同时逆时针转;

2、升高激光管(顺时针)


(2)切割面往右偏,激光头太高或垂直光反射镜C太低,如图标向B面斜,说明光偏高;

激光光路右偏有两种解决方法:


1、抬高垂直光反射镜C,将M1、M2、M3同时顺时针转;

2、降低激光管(逆时针)


(3)切割面偏里,激光进垂直光反射镜偏外或反射镜座B偏外,如图标向A面斜,说明光路偏外;

同样有两种解决方法:


1、调进反射镜座B,

2、将反射镜B上的M1、M2、M3同时调进(顺时针)


(4)切割面偏外,激光进垂直光射镜偏里或反射镜座B偏里,如图标向C面斜,说明光路偏里,两种解决方法:


1、调出反射镜座B,

2、将反射镜B上的M1、M2、M3同时调出(逆时针)。

来源: www.sptlaser.com | 阅读量: 24701次 | 2019-02-28

Copyright ? 2013-2025 sptlaser. 粤ICP备15008722号-2 | 法律声明 | 隐私条款

SPT9888拉斯维加斯入口激光

微信号:SPTlaser
扫描微信二维码
了解更多信息
9888拉斯维加斯入口微信公众号二维码
微博图标 facebook图标 领英图标 联系qq 推特图标 YouTube图标
Copyright ? 2013-2025 sptlaser.
粤ICP备15008722号-2   法律声明 | 隐私条款